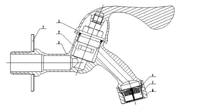
材質成分
主體:優質紅鍛銅,拋光鍍鉻
閥芯:采用進口陶瓷片
手柄:鋅合金,拋光鍍鉻
墊片:三元乙丙
起泡器:組合件
起泡器外套:優質紅鍛銅,拋光鍍鉻
裝飾蓋:304不鏽鋼鏡麵


S006W鳳凰起泡器水嘴描述:
主體采用優質黃銅經紅衝鍛造、精密數控加工製造而成。璞玉渾金,堅固耐用,製作精細。嚴格按照國家標準GB/T 18145-2003檢測。
優質陶瓷閥芯,質量高,密封性能好,能經受50萬次以上的開關循環使用仍可操作順暢省力,耐久不漏水,手感舒適。
表麵采用先進的電鍍工藝處理,經過酸銅、鎳、鉻多重鍍層。電鍍層結合良好、附著細密、色澤均勻,耐腐性極佳,確保青青草成人版表麵光澤亮麗,曆久恒新。有多層濾網,使出水順暢,節水不飛濺,並伴有氣泡,讓消費者充分體會到用水樂趣。
S006W鳳凰起泡器水嘴優勢:
1、製作精細,堅固耐用。青青草成人版主體采用優質黃銅紅衝鍛造,經精密數控加工製造而成。分子組織均勻,堅固耐用,排除了傳統水嘴翻砂工藝可能產生氣孔導致漏水的隱患
2、安裝方便,使用安全。進水口螺紋采用插直齒工藝,方便生料帶纏繞,不打滑,完全緊貼螺紋。安裝方便,強度高,耐高壓。萬一損壞,不斷裂在牆體,可輕鬆更換。
3、加厚電鍍,曆久恒新。表麵精密拋光並經鎳及鉻多層加厚電鍍,具有耐腐蝕性,光亮不褪色、不磨損。確保青青草成人版表麵光澤亮麗,曆久恒新。
4、進口閥芯,品質保證。優質進口陶瓷片閥芯能經受50萬次循環使用,手感舒適,耐久不漏水。相當於4口之家使用85年,仍可保持同樣手感。
5、創新設計,簡約大方。造型新穎別致,設計者運用創造性的思維和豐富的想象力突破傳統水嘴樣式的局限性。人性化的設計,簡約大方的外觀以及時尚的輪廓,無不體現著含蓄的優雅。
五年品質保證,讓消費者放心使用本青青草成人版。


